

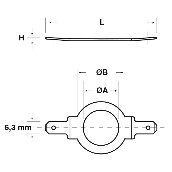
ARTICOLO | per filetto: M | per filetto: PG | per filetto: GAS | ØA mm | ØB mm | H mm | L mm | confezione pz. | |
|---|---|---|---|---|---|---|---|---|---|
| GR CM 13 | 12 | 7 | 1/4" | 13 | 24 | 1 | 56 | 50 | |
| GR CM 16 | - | 9 | - | 16 | 24 | 1 | 56 | 50 | |
| GR CM 16,5 | 16 | - | 3/8" | 16,5 | 24 | 1 | 56 | 50 | |
| GR CM 19 | 11 | - | 19 | 28 | 1 | 60 | 50 | ||
| GR CM 20,5 | 20 | - | - | 20,5 | 28 | 1 | 60 | 50 | |
| GR CM 21 | - | 13,5 | 1/2" | 21 | 28 | 1 | 60 | 50 | |
| GR CM 23 | - | 16 | 5/8" | 23 | 32 | 1 | 64 | 50 | |
| GR CM 25,5 | 25 | - | - | 25,5 | 32 | 1 | 64 | 20 | |
| GR CM 29 | - | 21 | 3/4" | 29 | 37 | 1 | 64 | 20 | |
| GR CM 33 | 32 | - | 1" | 33 | 40 | 1 | 72 | 20 | |
| GR CM 38 | - | 29 | 1"1/8 | 38 | 52 | 1 | 84 | 20 | |
| GR CM 40,5 | 40 | - | - | 40,5 | 52 | 1 | 84 | 20 | |
| GR CM 48 | - | 36 | 1"1/2 | 48 | 62 | 1 | 94 | 10 | |
| GR CM 50,5 | 50 | - | - | 50,5 | 62 | 1 | 94 | 10 | |
| GR CM 55 | - | 42 | 1"3/4 | 55 | 71 | 1 | 103 | 5 | |
| GR CM 61 | - | 48 | 2" | 61 | 78 | 1 | 110 | 5 | |
| GR CM 63,5 | 63 | - | - | 63,5 | 78 | 1 | 110 | 5 |
Richiedi il nostro supporto
Elektrozubehör è da sempre attenta alle esigenze dei suoi clienti. Con professionalità e cordialità, può accompagnarti nella scelta del prodotto più adeguato alla tua applicazione. Richiedi il supporto dei nostri specialisti.
Rimani aggiornato sulle nostre novità
Iscriviti alla newsletter di Elektrozubehör e ricevi aggiornamenti, informazioni e offerte sui nostri prodotti.